010 cylinder head cover

CodeКаталожный номерQtyPart nameApplied S/N rangeICAВ корзину
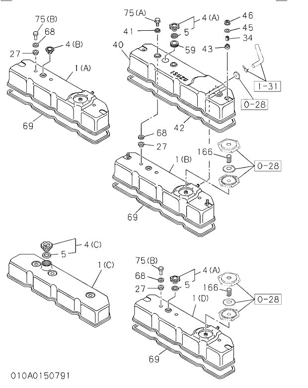
001(A)89443606711COVER; CYL HD198911-
004(B)89423915101CAP; OIL FILLER198911-
02791117903003GASKET; HD COVER198911-
06891117910503WASHER; CAP NUT,HD COVER198911-
06989446255901GASKET; HD TO COVER198911-199701C
06989431091201GASKET; HD TO COVER199702-
075(B)91117501203NUT; CAP,HD COVER198911-