
| Code | Каталожный номер | Qty | Part name | Applied S/N range | ICA | В корзину |
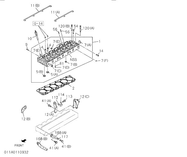
| 1 | 1111106011 | 1 | HEAD ASM; CYL | 199211 - 199609 | A | |
| 1 | 1111108420 | 1 | HEAD ASM; CYL | 199610 - 199902 | ||
| 1 | 1111106142 | 1 | HEAD ASM; CYL | 199903 - | ||
| 2 | 1111411950 | 1 | GASKET; CYL HD | 199211 - | ||
| 4 | 5117210010 | 12 | GUIDE; VLV | 199211 - | ||
| 5(A) | 1117150540 | 6 | SEAT; VLV INSERT | 199211 - | ||
| 5(B) | 1117110430 | 6 | SEAT; VLV INSERT | 199211 - | ||
| 7(A) | 1096000051 | 1 | CUP; SEALING,CYL HEAD | 199211 - | ||
| 7(B) | 9111291280 | 3 | CUP; SEALING,CYL HEAD | 199211 - | ||
| 7(C) | 5112190150 | 3 | CUP; SEALING,CYL HEAD | 199211 - | ||
| 7(D) | 5096000130 | 6 | CUP; SEALING,CYL HEAD | 199211 - | ||
| 7(E) | 1096000160 | 11 | CUP; SEALING,CYL HEAD | 199211 - | ||
| 7(F) | 9111296010 | 5 | CUP; SEALING,CYL HEAD | 199211 - | ||
| 9 | 9041108250 | 3 | STUD; INL MANIF | 199211 - 200003 | ||
| 9 | 9111296011 | 6 | STUD; INL MANIF | 200004 - | ||
| 10 | 9825139289 | 6 | PLUG; GLOW | 199211 - 199809 | ||
| 10 | 1825130430 | 6 | PLUG; GLOW | 199810 - | ||
| 11(A) | 5197320011 | 1 | CONNECTOR; GLOW PLUG | 199211 - | ||
| 11(B) | 5197320021 | 1 | CONNECTOR; GLOW PLUG | 199211 - | ||
| 12(A) | 9117776121 | 1 | HANGER; ENG,RR | 199211 - | ||
| 14 | 9096300260 | 12 | STUD; EXH MANIF | 199211 - | ||
| 41(A) | 0500410220 | 1 | BOLT; ENG HANGER | 199211 - 199701 | A | |
| 41(A) | 0286810200 | 1 | BOLT; ENG HANGER | 199702 - | ||
| 41(B) | 0208014250 | 1 | BOLT; ENG HANGER | 199211 - | ||
| 41(A) | 9825139290 | 2 | BOLT; ENG HANGER | 199211 - 199701 | A | |
| 41(A) | 9825139291 | 2 | BOLT; ENG HANGER | 199702 - | ||
| 54 | 9098301630 | 4 | STUD; ROCKER ARM | 199211 - | ||
| 56 | 1093000180 | 12 | STUD; NOZZLE HOLDER | 199211 - | ||
| 81 | 9096600340 | 6 | PLUG; PLATE,DRILLED PASSAGE | 199211 - | ||
| 117 | 9091505140 | 1 | WASHER; LK,HANGER | 199211 - | ||
| 120(A) | 1090701010 | 20 | BOLT; CYL HD TO HSG | 199211 - | ||
| 120(B) | 1090701000 | 6 | BOLT; CYL HD TO HSG | 199211 - | ||
| 168(A) | 5117770551 | 1 | HANGER; ENG,FRT | 199211 - |