
| Code | Каталожный номер | Qty | Part name | Applied S/N range | ICA | В корзину |
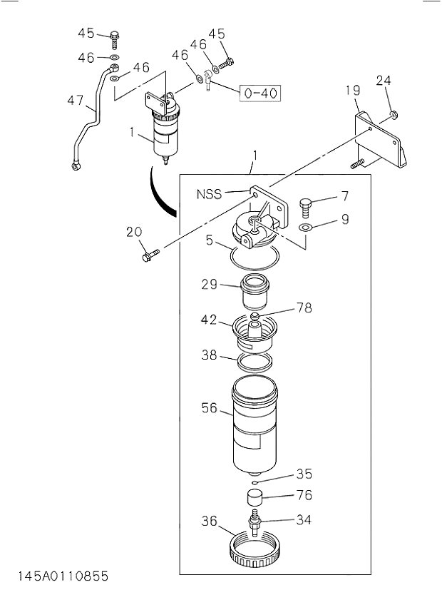
| 1 | 1132009600 | 1 | SEDIMENTER; FUEL | 200910- | ||
| 5 | 1096236100 | 1 | GASKET; UPR COVER,SEDIMENTER | 200910- | ||
| 7 | 1096040770 | 1 | PLUG; DRAIN,SEDIMENTER | 200910- | ||
| 9 | 1096301180 | 1 | GASKET; DRAIN PLUG & CONNECTOR | 200910- | ||
| 29 | 1132192120 | 1 | SCREEN ASM; SEDIMENTER | 200910- | ||
| 34 | 1132192110 | 1 | PLUG; DRAIN,FUEL FILTER | 200910- | ||
| 35 | 1096234730 | 1 | GASKET; DRAIN PLUG | 200910- | ||
| 36 | 1132192081 | 1 | RING; BODY TO CASE | 200910- | ||
| 38 | 1132192100 | 1 | FLOAT; SEDIMENTER | 200910- | ||
| 42 | 1132192090 | 1 | PLATE; BAFFLE | 200910- | ||
| 45 | 1096750860 | 2 | BOLT; EYE,FUEL PIPE | 200507- | ||
| 56 | 1132112550 | 1 | CASE; FUEL SEDIMENTER | 200910- | ||
| 76 | 1132192130 | 1 | CUP; DRAIN | 200910- |