


| Code | Каталожный номер | Qty | Part name | Applied S/N range | ICA | В корзину |
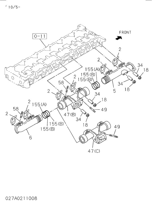
| 2 | 1141451822 | 6 | GASKET; EXH MANIF TO HD | 200510- | ||
| 5 | 1141420302 | 1 | MANIFOLD; EXH,FRT | 200510- | ||
| 6 | 1141420010 | 1 | MANIFOLD; EXH,RR | 200510- | ||
| 18 | 8970961921 | 18 | NUT; EXH MANIF | 200510- | ||
| 34 | 8972500731 | 18 | COLLAR; DIST,EXH MANIF | 200511- | ||
| 047(A) | 1141420311 | 1 | MANIFOLD; EXH,CENTER | 200511-200911 | ||
| 047(C) | 8981425020 | 1 | MANIFOLD; EXH,CENTER | 200912- | ||
| 49 | 8973780710 | 4 | STUD; CENTER MANIF TO TURBOCHARGER | 200510- | ||
| 58 | 9041108200 | 6 | STUD; HEAT PROTECTOR | 200510-200604 | A | |
| 58 | 410108200 | 6 | STUD; HEAT PROTECTOR | 200605-200911 | ||
| 58 | 9041108201 | 4 | STUD; HEAT PROTECTOR | 200912-201004 | ||
| 58 | 9041108202 | 2 | STUD; HEAT PROTECTOR | 201005- | ||
| 155(A) | 1141492010 | 2 | RING; SEAL,EXH MANIF | 200510- | ||
| 155(B) | 9141490261 | 4 | RING; SEAL,EXH MANIF | 200510- |